на тему рефераты
 
Главная | Карта сайта
на тему рефераты
РАЗДЕЛЫ

на тему рефераты
ПАРТНЕРЫ

на тему рефераты
АЛФАВИТ
... А Б В Г Д Е Ж З И К Л М Н О П Р С Т У Ф Х Ц Ч Ш Щ Э Ю Я

на тему рефераты
ПОИСК
Введите фамилию автора:


Курсовая работа: Технологічні особливості систем мобільного зв'язку для вчинення злочинів


Курсовая работа: Технологічні особливості систем мобільного зв'язку для вчинення злочинів

План

Вступ

Розділ 1. Загальна характеристика систем мобільного зв’язку

1.1 Основні типи систем мобільного зв’язку

1.2 Структура мереж мобільного зв’язку

Розділ 2. Здійснення злочинів у сфері мобільного зв’язку

2.1 Злочини проти компанії стільникового зв’язку

2.2 Несанкціоноване перехоплення інформації

Розділ 3. Запобігання злочинам у сфері мобільного зв’язку

3.1 Шифрування даних

3.2 Аутентифікація

Висновок

Література


Вступ

В умовах сьогодення відбувається якісна зміна кримінального світу: у своїй злочинній діяльності кримінальні структури використовують найсучасніші досягнення науки і техніки, комп’ютерні системи та нові інформаційні технології. Тобто, відбувається процес інтенсивної інтелектуалізації організованої злочинності.

Революція зв'язку вийшла за стіни офісів і контор і поширилася на школи, квартири, бібліотеки, проникаючи в кожний куток нашого повсякденного життя. Мобільний телефонний зв’язок сьогодні є одним з видів безпровідного персонального зв’язку, що активно розвивається. Але значно більшими темпами зростає злочинність у цій сфері. Злочини здійснюються організованими злочинними групами, діяльність багатьох з яких має транснаціональний характер.

Сьогодні мобільний телефон – це не тільки засіб зв'язку, фотоапарат або відеокамера, але ще і радіомаяк. Сучасна людина, сама того деколи не підозрюючи, всюди залишає сліди – і йдеться не тільки про відбитки пальців. Ми чи не щохвилини залишаємо електронні сліди – коли дзвонимо з мобільного телефону, входимо в Інтернет або вставляємо квиток в турнікет метро. І сліди ці можуть бути виявлені за допомогою різних технічних засобів. Злочини у сфері інформаційно-комунікаційних технологій переважно не є тяжкими, але їх розкриття потребує застосування спеціальних науково-технічних засобів та залучення фахівців зі спеціальними знаннями у галузях телекомунікацій, електронних розрахунків, застосування Інтернет-технологій і т. ін. Тому у даній роботі за мету я ставила дослідити системи мобільного зв’язку, проаналізувати різноманітні способи здійснення злочинів у сфері мобільного телефонного зв’язку, а також визначити способи запобігання злочинам такого типу.


Розділ 1. Загальна характеристика систем мобільного зв’язку

система мобільний зв'язок злочин

Мобільні телефони фактично є складною мініатюрною прийомо-передаваючою радіостанцією. Кожному мобільному телефонному апарату присвоюється свій електронний серійний номер (ESN), який кодується в мікрочіпі телефону при його виготовленні і повідомляється виробниками апаратури спеціалістам, які здійснюють його обслуговування. Крім того, деякі виробники вказують цей номер у посібнику для користувача. При підключенні апарату до системи зв’язку компанії, яка представляє послуги мобільного зв’язку, в мікрочіп телефону додатково заносяться мобільний ідентифікаційний номер (MIN).

Мобільний телефон має велику, а іноді і необмежену, дальність дії, яку забезпечує сотова структура зон зв’язку. Вся територія, яка обслуговується стільниковою системою зв’язку, поділена на окремі прилягаючі один до одного зони зв’язку або «соти». Телефонний обмін в кожній такій зоні управляється базовою станцією, здатною приймати сигнали на великій кількості радіочастот. Крім того, ця станція підключена до звичайної провідної телефонної мережі і оснащена апаратурою перетворення високочастотного сигналу мобільного телефону в низькочастотний сигнал провідного телефону і навпаки, чим забезпечується узгодження обох систем.

В основі будь яких систем мобільного зв'язку лежить підсистема базових радіо станцій (далі БС). Основна функція БС обмін інформацією з мобільними телефонами (далі МТ), що знаходяться в зоні дії БС, та обмін інформацію з центральним комутатором (далі ЦК).Функція ЦК обмін інформацією з БС та через них з МТ, а також обмін інформацією з абонентами, що користуються мережами загального користування, як національними так і міжнародними, мережами інших операторів.

Інтерфейсом, транспортною мережею (далі ТМ) між БС, ЦК є найчастіше радіорелейні системи, оптичні системі передачі інформації іноді системи на основі кабельних ліній зв'язку.

Під покриттям або зоною обслуговування (далі 30) зазвичай розуміють територію, що знаходиться в зоні дії БС (базових станцій) оператора. Саме сигнал від наявних БС (базових станцій) і визначає розміри, границі 30 (зони обслуговування). 30 (зону обслуговування) поділяють на чарунки. В умовному центрі яких розміщені БС (базові станції). Чарунки поділяються зазвичай на три сектора: А,Б,С.

1.1 Основні типи систем мобільного зв’язку

Сучасні системи мобільного радіозв’язку (CMP) досить різноманітні за спектром застосувань, що використовується інформаційними технологіями і принципами організації. Тому їх змістовний огляд був би досить складним без попередньої систематизації. Отже, можна запропонувати наступний набір класифікаційних ознак CMP:

·  спосіб керування системою, інакше спосіб об’єднання абонентів - централізований (координовий) або автономний (некоординований). При централізованому об’єднанні зв’язок між абонентами здійснюється через центральні (або базові) станції. В протилежному випадку зв’язок між користувачами встановлюється безпосередньо, без участі базових станцій;

·  зона обслуговування - радіальна (в межах радіуса дії радіостанції), лінійна (для лінійно протяжних зон), територіальна (для певних конфігурацій території);

·  спрямованість зв’язку - односторонній або двосторонній зв’язок між абонентом і базовою станцією;

·  вид роботи системи - симплекс (почергова передача від абонента до базової станції і назад) і дуплекс - одночасна передача і прийом в кожному з двох названих напрямків;

·  метод розподілу каналів у системі радіозв’язку, або метод множинного доступу - частотний, тимчасовий або кодовий;

·  спосіб використання частотного ресурсу, виділеного системі зв’язку, - жорстке закріплення каналів за абонентами, можливість доступу абонентів до загального частотного ресурсу (транкінгові системи), повторне використання частот за рахунок просторового рознесення передатчиків (стільникові системи);

·  категорія абонентів, які обслуговуються системою зв’язку абонентів - професійні (службові, корпоративні) абоненти, приватні особи;

·  вид інформації, що передається - мова, кодоване повідомлення та ін.

Даний перелік не вичерпує всіх можливих системоутворюючих ознак (можна згадати і такі, як діапазон частот, що використовуються, вид модуляції сигналів, спосіб з’єднання системи зв’язку з комутованою телефонною мережею загального використання (ТМЗВ), число абонентів, що обслуговується і т.д.), однак і його достатньо для демонстрації різноманіття існуючих CMP.

В залежності від призначення системи, об’єму послуг, що надаються і розмірів зони обслуговування можна виділити чотири типи СМР: транкінгові системи зв’язку, системи персонального радіовиклику, системи персонального супутникового зв’язку та стільникові системи мобільного зв’язку.

Термін «транкінговий» (або транковий) походить від англійського trunk (стовбур) і відображає ту обставину, що «стовбур зв’язку» містить декілька каналів, прим чому жорстке закріплення каналів за абонентами відсутнє. В літературі можна знайти різні визначення транкінгових систем, загальним для яких є саме надання в розпорядження абонента одного із вільних на даний момент каналів. До цього класу відносять:

·  радіально-зонові системи наземного мобільного радіозв’язку, що використовують автоматичний розподіл обмеженого частотного ресурсу ретранслятора серед великої кількості абонентів;

·  системи масового застосування, які дозволяють при обмеженому частотному ресурсі обслуговувати максимальну кількість абонентів.

Транкінгова система зв’язку може бути представлена узагальненою структурною схемою (рис.1.1), де використані наступні позначення:

–  МС - мобільна станція (мобільний абонент);

–  БС - базова станція (центр управління);

–  УОР - пристрій об’єднання радіосигналів;

–  Р - ретранслятори;

–  ЦКМС - центр комутації мобільного зв’язку;

–  ТФОП - телефонна мережа загального користування;

–  ДПУ - диспетчерський пункт управління.

Рис. 1.1 Узагальнена структурна схема транкінгової системи зв’язку

Системи персонального радіовиклику (СПРВ), або пейджингові системи (від англійського paging - виклик), являють собою системи мобільного радіозв’язку, які забезпечують односторонню передачу коротких повідомлень із центру систему (терміналу персонального радіовиклику, або пейджингового терміналу) на мініатюрні абонентські прийомники (пейджери).

В найзагальнішому версії структурна схема СПРВ представлена на рис. 1.2, де використовуються скорочення:

–  ТПВ - термінал персонального виклику;

–  КСПВ - контролер мережі персонального виклику;

–  ЦЕиО - центр експлуатації та обслуговування;

–  БС - базова станція;

–  АП - абонентський прийомник.

Рис. 1.2. Узагальнена структурна схема СПРВ

Терміном «системи персонального супутникового зв’язку» (СПСЗ) об’єднуються різні за будовою і орбітальною конфігурацією системи, в яких термінал користувача отримує і передає повідомлення по радіолінії, що напряму пов’язує його з космічним апаратом (КА). Основна роль СПСЗ у сучасному світі полягає в розповсюдженні послуг мобільного зв’язку на ті ділянки земної поверхні, де розгортання наземних мереж неможливе в принципі або є економічно недоцільним, тобто в акваторіях Світового океану, в районах з малою густотою населення и т.д. Можна сказати, що СПСЗ призначені для «глобалізації» інформаційного сервісу, так як вільні від будь-яких обмежень, пов’язаних з географією і рельєфом регіонів, що обслуговуються. Ділянка території радіопокриття, на якій здійснюється зв’язок у фіксованій смузі частот, схематично зображується у вигляді правильного шестикутника і за подібністю до бджолиних сот отримала назву соти. В результаті СМР з територіальним рознесенням частот отримали назву сотових (стільникових) систем мобільного зв’язку (ССМЗ). Групу сот, в межах якої відсутнє повторне використання частотних смуг, називають кластером. Сотова топологія дозволяє багатократно збільшити абонентську ємкість системи у порівнянні з системами радіальної структури і охопити скільки завгодно велику зону обслуговування без погіршення якості зв’язку і поширення виділеного частотного діапазону. Разом з тим використання стільникового принципу побудови передбачає і ряд ускладнень, що стосуються визначення місце розташування мобільного абонента на даний момент і забезпечення безперервності зв’язку при переміщенні його з однієї соти в іншу. Відповідна процедура отримала назву естафетної передачі.

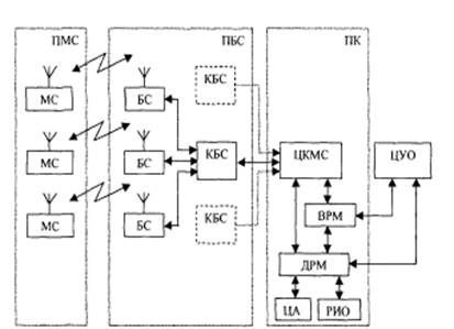
Функціональна побудова ССМЗ проілюстрована рис. 1.3. У схемі можна умовно виділити чотири основних компоненти: центр управління і обслуговування (ЦУО) і три підсистеми:

–  підсистема мобільних станцій ПМС;

–  підсистема базових станцій ПБС;

–  підсистема комутації ПК.

Рис. 1.3 Узагальнена структурна ССМЗ

Мобільний зв’язок третього покоління будується на основі пакетної передачі даних. Мережі третього покоління 3G працюють на частотах дециметрового діапазону, як правило в діапазоні близько 2 ГГц, передаючи дані зі швидкістю до 14 Мбіт/с. Вони дозволяють організовувати відеотелефонний зв’язок, дивитись на мобільному телефоні фільми і телепрограми і т.д.

3G включає в себе 5 стандартів сімейства IMT-2000 (UMTS/WCDMA, CDMA2000/IMT-MC, TD-CDMA/TD-SCDMA (власний стандарт Китаю), DECT и UWC-136).

Найбільш розповсюджені два: UMTS (або W-CDMA) і CDMA2000 (IMT-MC), в основі яких лежить одна і та ж технологія — CDMA (Code Division Multiple Access — множинний доступ з кодовим розподілом). Також можливе використання CDMA450.

Технологія CDMA2000 забезпечує еволюційний перехід от вузькосмугових систем з кодовим розподілом каналів IS-95 (американський стандарт цифрового стільникового зв'язку другого покоління) до систем CDMA «третього покоління» і отримала найбільше розповсюдження на північнопмериканському континенті, а також у країнах Азіатсько-Тихоокеанського регіону.

Технологія UMTS (Universal Mobile Telecommunications System — універсальна система мобільного електрозв'язку) розроблена для модернізації мереж GSM (європейського стандарта сотільникового зв'язку другого покоління), і отримала гироке розповсюдження не тільки в Європі, але і в багатьох інших регіонах світу.

Робота по стандартизації UMTS координується міжнародною групою 3GPP (Third Generation Partnership Project), а по стандартизації CDMA2000 — міжнародною групою 3GPP2 (Third Generation Partnership Project 2), створеними і співіснуючими в рамках ITU.

В мережах 3G забезпечується надання двох базових послуг: передача даних і передача голосу. Згідно регламентів ITU (International Telecommunications Union — Міжнародний Союз Електрозв'язку) мережі 3G повинні підтримувати наступні швидкості передачі даних:

для абонентів с високою мобільністю (до 120 км/год) — не менше 144 кбіт/с;

для абонентів с низькою мобільністю (до 3 км/год) — 384 кбіт/с;

для нерухомих об'єктів — 2,048 Мбіт/с.

Основні тренди в мережах 3G:

переважання трафіка data-cards (USB-модеми, ExpressCard/PCMCIA-карти для ноутбуків) над трафіком телефонів и смартфонів 3G;

постійне зниження ціни 1 Мб трафіка, обумовлене переходом операторів до більш сучасних і ефективних технологій. HSDPA (англ. High-Speed Downlink Packet Access — високошвидкісна пакетна передача даних від базової станції до мобільного телефону) — стандарт мобільного зв’язку, розглядається спеціалістами як один з перехідних етапів міграції до технологій мобільного зв’язку четвертого покоління (4G). Максимальна теоретична швидкість передачі даних по стандарту складає 14,4 Мбіт/сек, практично ж швидкість, що досягається в існуючих мережах зазвичай не перевищує 6 Мбіт/сек. До технологій, які претендують на роль 4G відносяться: WiMAX (англ. Worldwide Interoperability for Microwave Access) — телекомунікаційна технологія, розроблена з метою надання універсального бездротового зв’язку на великих відстанях для широкого спектру пристроїв (від робочих станцій і портативних комп’ютерів до мобільних телефонів). Заснована на стандарті IEEE 802.16, який також називають Wireless MAN. Назва «WiMAX» була створена WiMAX Forum — організацією, що була заснована в червні 2001 року з метою розвитку технології WiMAX. Форум описує WiMAX як «засновану на стандарті технологію, що надає високошвидкісний бездротовий доступ до мережі, альтернативний виділеним лініям і DSL». В загальному вигляді WiMAX мережі складаються з наступних основних частин: базових і абонентських станцій, а також обладнання, що зв’язує базові станції між собою, з поставником сервісів і з Інтернетом. Для з’єднання базової станції з абонентською використовується високочастотний діапазон радіохвиль від 1,5 до 11 ГГц. В ідеальних умовах швидкість може досягати 70 Мбіт/с, при цьому не потребується забезпечення прямої видимості між базовою станцією і прийомником. WiMAX застосовується як для вирішення проблеми «останньої милі», так і для надання доступу в мережу офісним і районним мережам. Між базовими станціями встановлюються з’єднання (прямої видимості), які використовують діапазон частот від 10 до 66 ГГц, швидкість обміну даними може досягати120 Мбіт/c. При цьому, принаймні одна базова станція підключається до мережі провайдера з використанням класичних дротових з’єднань. Однак, чим більша кількість БС підключена до мереж провайдера, тим вища швидкість передачі даних і надійність мережі в цілому. Wi-Fi (англ. Wireless Fidelity — «беспроводная точность») — стандарт на обладнання Wireless LAN. Розроблений консорціумом Wi-Fi Alliance на базі стандартів IEEE 802.11, «Wi-Fi» — торгова марка «Wi-Fi Alliance». Технологію назвали Wireless-Fidelity (дослівно «бездротова точність») за аналогією Hi-Fi. На сьогодні у багатьох організаціях використовується Wi-Fi, так як при певних умовах швидкість роботи мережі уже перевищує 100 Мбіт/сек. Користувачі можуть переміщуватися між точками доступу по території покриття мережі Wi-Fi. Мобільні пристрої (КПК, смартфони, PSP і ноутбуки), обладнані клієнтськими Wi-Fi прийомно-передаючими приладами, можуть підключатися до локальної мережі і отримувати доступ в Інтернет через точки доступу або хот-споти. Зазвичай схема Wi-Fi мережі містить не менше однієї точки доступу і не менше одного клієнта. Також можливе підключення двох клієнтів у режимі точка-точка, коли точка доступу не використовується, а клієнти з’єднуються шляхом мережевих адаптерів «напряму». Точка доступу передає свій ідентифікатор мережі (SSID) за допомогою спеціальних сигнальних покатів на швидкості 0.1 Мбіт/с кожні 100 мс. Тому 0.1 Мбіт/с — найменша швидкість передачі даних Wi-Fi. Знаючи SSID мережі, клієнт може вияснити, чи можливе підключення до даної точки доступу. При потрапляння в зону дії двох точок доступу з ідентичними SSID, приймач може обирати між ними на основі даних про рівень сигналу. Стандарт Wi-Fi дає клієнту повну свободу при виборі критеріїв для з’єднання. Також до стандартів четвертого покоління відносять LTE, TD-LTE,UMB. На сьогодні запущені лише WiMAX, Wi-Fi та LTE.

Можна зробити висновок, що на сьогодні існує декілька поколінь систем мобільного зв’язку: 1G, 2G, 2,5G, 3G, 3,5G і навіть 4G. Найбільш поширеними з них є 3G та 3,5G, але поступово набувають розповсюдження і стандарти останнього покоління. У зв’язку з цим поширюється і злочинність у мережах мобільного зв’язку. Для того, щоб зрозуміти, яким чином ці злочини здійснюються і як ним запобігти, розглянемо структуру мереж мобільного зв’язку.

1.2 Структура мереж мобільного зв’язку

Основні, найбільш загальні елементи мереж зв’язку показані на рис. 1.4. Вони містять мобільні станції (МС), базові станції (БС), центри управління і комутації (ЦК), радіоінтерфейси (РИ)

 

Рис. 1.4 Елементи мереж зв’язку

Мобільні станції використовуються подвижники абонентами, БС - стаціонарні прийомопередаваючі станції, які забезпечують радіозв’язок з МС у певній зоні (квоті, соті, секторі). В ЦК обирається напрямок передачі даних (комутація), здійснюється управління БС і здійснюється доступ до зовнішніх систем.

Мобільні станції можуть обмінюватися інформацією один з одним або через ЦК, або безпосередньо. Використовуючи основні елементи, можні побудувати регіональні і національні мережі (під мережі) мобільного зв’язку, структура яких у спрощеному варіанті показана на рис. 1.5. В якості прикладу взята транкінгова мережа стандарту TETRA

Окремі мережі та підмережі об’єднуються в єдину структуру за допомогою міжмережевих інтерфейсів (СІ) - кабельних або радіоліній. Контролери базових станцій (КБС) виконують функції комутації, управління БС, забезпечують доступ до зовнішніх мереж (телефонних, передачі даних). Вони можуть підрозділяютися на головні (з розширеними можливостями) і підлеглі (з обмеженими функціями). Підмережа може містити власну станцію управління (СУ). Таким чином, функції управління і комутації розподіляються по всій мережі, що забезпечує швидку передачу викликів і збереження роботоспроможності мережі при несправностях окремого обладнання.

Рис. 1.5. Структура мережі зв’язку


Розділ 2. Здійснення злочинів у сфері мобільного зв’язку

Незважаючи на прийняті національні законодавства по боротьбі з кіберзлочинністю у ряді країн, у тому числі й в Україні, її “уніфікований” склад до цих пір чітко не визначений, оскільки як можливості технічних засобів, програмного забезпечення, засобів телекомунікацій, так і кримінальні хитрування самих кіберзлочинців, безперервно зростають з розвитком науково-технічного прогресу і відсталістю правових норм протидії. На сьогодні не існує загальновизнаного визначення поняття “мобільних злочинів”, а сам термін має переважно операційний характер.

Тільки за останні роки кримінальне законодавство доповнено рядом норм, якими передбачена кримінальна відповідальність за злочини, раніше невідомі чинному законодавству. До їх числа відносяться і так звані "злочини в сфері комп'ютерної інформації".

Уперше термін "злочину в сфері комп'ютерної інформації " з'явився в 70-ті роки, коли помітно зросло число кваліфікованих фахівців в області електронно-обчислювальної техніки, здатних "проникнути" в комп'ютерні системи і здійснити необхідні маніпуляції з даними і засобами програмування.

Загальноприйнятого визначення злочину в сфері комп'ютерної (а зокрема, і мобільного зв’язку) інформації в нашому законодавстві доки не існує. Частіше всього воно трактується як злочин, об'єктом посягання якого є саме технічні засоби (комп'ютери і периферія), - як матеріальні об'єкти, так і програмне забезпечення і бази даних.

Є пропозиції під визначенням злочинності в сфері комп'ютерної інформації розуміти "всі злочинні дії, при вчиненні яких комп'ютер є знаряддям або метою їх здійснення".

Злочини в сфері комп'ютерної інформації умовно можна поділити на три основних групи:

злочини в сфері інформації - майнові (комп'ютерне (мобільне) шахрайство, комп'ютерний саботаж й ін.);

злочини в сфері інформації проти прав особистості, і, передусім, приватних осіб (несанкціоноване копіювання втручання і перехоплення);

злочини проти суспільних і соціальних правових цінностей (злочини, пов'язані з комп'ютерами; заміна або пошкодження інформації).

Відповідно до положень XVI розділу Особливої частини КК України можна дати загальне визначення злочинів в даній сфері.Злочини у сфері комп’ютерної інформації – це передбачене кримінальним законом винне порушення прав та інтересів стосовно автоматизованих систем обробки даних, що зашкоджує правовій охороні прав та інтересів фізичних і юридичних осіб, суспільства і держави. Тобто це діяння, суть якого міститься зовсім не у використанні самої електронно-обчислювальної техніки як засобу скоєння злочину. Цей розділ включає суспільнонебезпечні дії, які посягають на безпеку інформації та автоматизовані системи її обробки.Наслідки неправомірного використання інформації можуть бути різноманітними: це не тільки порушення недоторканності інтелектуальної власності, але й розголошення відомостей про особисте життя громадян, майнова шкода у вигляді прямих збитків та неотриманих прибутків, втрата репутації фірми, різноманітні види порушень нормальної діяльності підприємства, галузі і т. ін.

Аналіз диспозиції ст. 198-1 КК України дозволяє зробити висновок, що даною нормою передбачається кримінальна відповідальність за здійснення таких дій, як "умисне втручання в роботу автоматизованих систем, спотворення або знищення інформації або носіїв інформації, або розповсюдження програмних і технічних засобів, призначених для незаконного проникнення в автоматизовані системи, і здатних спричинити спотворення або знищення інформації або ж носіїв інформації".

Дане діяння, як злочинне, відтворене в ст. 332 проекту Кримінального кодексу.

У ст. 333 проекту КК як злочинні діяння передбачається "викрадення, привласнення, вимагання комп'ютерної інформації або заволодіння нею шахрайством".

У наступній ст. 334 проекту КК злочинним вважається "порушення правил експлуатації автоматизованих електронно-обчислювальних систем", їх систем або комп'ютерних мереж особою, яка відповідає за їх експлуатацію, якщо це призвело до викрадення, спотворення або знищення комп'ютерної інформації, коштів захисту, або незаконному копіюванню комп'ютерної інформації чи істотному порушенню роботи таких машин, їх систем або комп`ютерних мереж".

Необхідно передбачити кримінальну відповідальність і за такі види злочинів, де для досягнення злочинного результату використовуються переваги комп'ютерних технологій і мереж. Наприклад, країнам Заходу вже відомі такі правопорушення як "комп'ютерне шахрайство" (мета злочину - фінансовий прибуток або інша вигода; результат - спричинення потерпілому економічного збитку); "комп'ютерна підробка" (підробка за допомогою ЕОМ електронного серійного номера стільникових або мобільних телефонів, магнітних розрахункових карток, різного роду документів ); "Телефонне шахрайство" ( несанкціонований доступ з використанням комп'ютера і мережі до телекомунікаційних послуг з метою уникнути розрахунків за переговори, в окремих випадках - щоб уникнути підслуховування ).

Страницы: 1, 2


на тему рефераты
НОВОСТИ на тему рефераты
на тему рефераты
ВХОД на тему рефераты
Логин:
Пароль:
регистрация
забыли пароль?

на тему рефераты    
на тему рефераты
ТЕГИ на тему рефераты

Рефераты бесплатно, реферат бесплатно, курсовые работы, реферат, доклады, рефераты, рефераты скачать, рефераты на тему, сочинения, курсовые, дипломы, научные работы и многое другое.


Copyright © 2012 г.
При использовании материалов - ссылка на сайт обязательна.